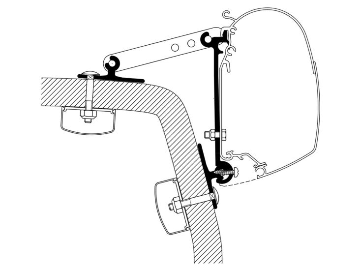
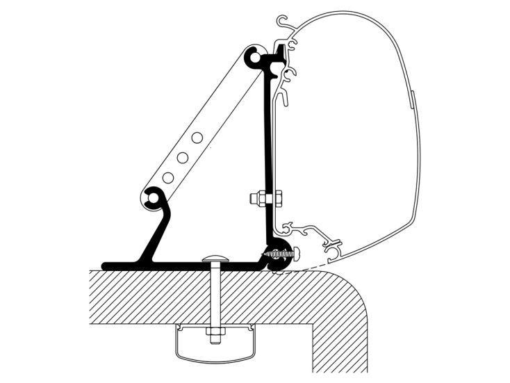
Markisen - Seite 20
Im Sommer ist ein schöner Schattenplatz wichtig. Wenn Sie auf dem Campingplatz keinen schattenspendenden Baum in der Nähe haben, sollten Sie sich nach einer passenden Wohnwagen Markise umsehen. Entscheiden Sie sich für eine Markise der renommierten Marken Fiamma oder Thule, dann entscheiden Sie sich für die beste Qualität. Obelink hat sowohl Kassettenmarkisen als auch Sackmarkisen im Sortiment. Eine Kassettenmarkise wird mit Schrauben an Ihrem Reisefahrzeug befestigt und mit einer Kurbel ausgefahren. Das funktioniert also genauso wie die Markise an Ihrem Haus. Eine Sackmarkise wird in die Kederschiene des Wohnwagens gezogen und von Hand ausgerollt. In unserem Sortiment finden Sie außerdem viele Zubehörteile, wie z. B. Seitenwände, Vorderwände, Zusatzstangen und auch Adapter für die Montage der Markisen von Fiamma oder Thule an unterschiedlichen Reisefahrzeugen.














